chevrolet suburban '99 5.7 - эл схема

Разговоры технического плана. Ремонт, характеристики, запчасти и т.д.
Ответить
Аватара пользователя
игрок
Ветеран клуба АмАвто
Сообщения: 23219
Зарегистрирован: 13 янв 2007, 01:54
Откуда: Спб

chevrolet suburban '99 5.7 - эл схема

Сообщение игрок » 01 дек 2012, 00:57

ни у кого нет под рукой схемки подключения питания к бензофорсункам?
Cadillac Escalade 6.2 '11
Dodge RamVan 2500 5.9 '97
Chevrolet Avalanche 5.3 '04 -=Sold=-
Dodge Durango 4.7 '00 -=Sold=-
Ford Eхplorer 4.0 '97 -=Sold=-

I live in Russia.
I wear fufaika, valenki and shapka–ushanka.
I drink vodka right from the samovar, and my bear plays on the balalaika.
Аватара пользователя
Marina
Ветеран клуба АмАвто
Сообщения: 2513
Зарегистрирован: 20 мар 2007, 16:08
Откуда: Москва
Контактная информация:

Re: chevrolet suburban '99 5.7 - эл схема

Сообщение Marina » 01 дек 2012, 01:03

Ты вот сейчас прикололся, да? :|
Изображение Grand Caravan 08
Аватара пользователя
игрок
Ветеран клуба АмАвто
Сообщения: 23219
Зарегистрирован: 13 янв 2007, 01:54
Откуда: Спб

Re: chevrolet suburban '99 5.7 - эл схема

Сообщение игрок » 01 дек 2012, 01:24

не, ну качать долго, да и нужен мне один тока узел. мож у кого в архивчик залито, машина-то не самая редкая
Cadillac Escalade 6.2 '11
Dodge RamVan 2500 5.9 '97
Chevrolet Avalanche 5.3 '04 -=Sold=-
Dodge Durango 4.7 '00 -=Sold=-
Ford Eхplorer 4.0 '97 -=Sold=-

I live in Russia.
I wear fufaika, valenki and shapka–ushanka.
I drink vodka right from the samovar, and my bear plays on the balalaika.
Аватара пользователя
alexauto2005
член клуба АмАвто
Сообщения: 352
Зарегистрирован: 08 май 2010, 00:14
Откуда: Россия,Тула
Контактная информация:

Re: chevrolet suburban '99 5.7 - эл схема

Сообщение alexauto2005 » 01 дек 2012, 01:25

игрок писал(а):ни у кого нет под рукой схемки подключения питания к бензофорсункам?

Есть.
А субур какой 1500 или 2500?
4WD или 2WD?
DODGE CARAVAN 93 3.0L Silver
Изображение
Аватара пользователя
игрок
Ветеран клуба АмАвто
Сообщения: 23219
Зарегистрирован: 13 янв 2007, 01:54
Откуда: Спб

Re: chevrolet suburban '99 5.7 - эл схема

Сообщение игрок » 01 дек 2012, 01:27

1500, 4вд. подключение бензофорсунок там точно одинаковое должно быть, вряд ли будет разница.
Cadillac Escalade 6.2 '11
Dodge RamVan 2500 5.9 '97
Chevrolet Avalanche 5.3 '04 -=Sold=-
Dodge Durango 4.7 '00 -=Sold=-
Ford Eхplorer 4.0 '97 -=Sold=-

I live in Russia.
I wear fufaika, valenki and shapka–ushanka.
I drink vodka right from the samovar, and my bear plays on the balalaika.
Аватара пользователя
alexauto2005
член клуба АмАвто
Сообщения: 352
Зарегистрирован: 08 май 2010, 00:14
Откуда: Россия,Тула
Контактная информация:

Re: chevrolet suburban '99 5.7 - эл схема

Сообщение alexauto2005 » 01 дек 2012, 01:27

сейчас открываю.
DODGE CARAVAN 93 3.0L Silver
Изображение
Аватара пользователя
alexauto2005
член клуба АмАвто
Сообщения: 352
Зарегистрирован: 08 май 2010, 00:14
Откуда: Россия,Тула
Контактная информация:

Re: chevrolet suburban '99 5.7 - эл схема

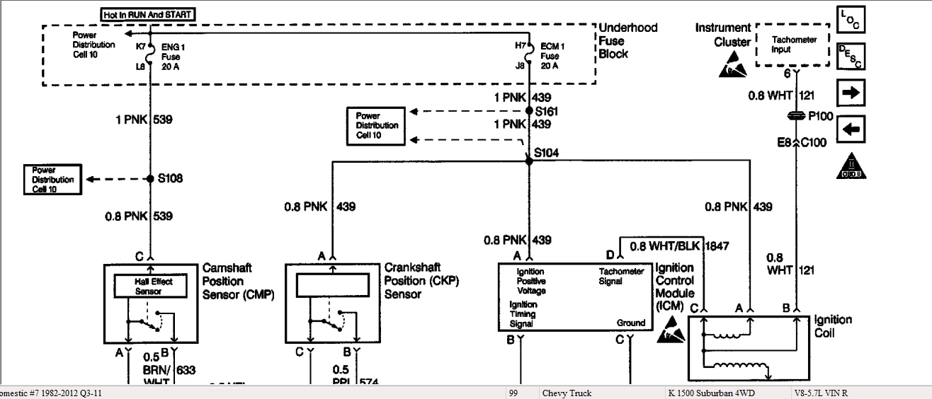
Сообщение alexauto2005 » 01 дек 2012, 01:43

Вот что есть.
схема1.jpg
схема2.jpg
схема3.jpg
схема4.jpg
схема5.jpg
DODGE CARAVAN 93 3.0L Silver
Изображение
Аватара пользователя
alexauto2005
член клуба АмАвто
Сообщения: 352
Зарегистрирован: 08 май 2010, 00:14
Откуда: Россия,Тула
Контактная информация:

Re: chevrolet suburban '99 5.7 - эл схема

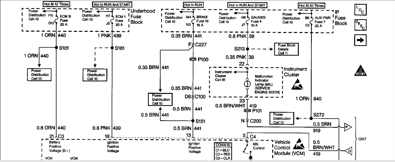
Сообщение alexauto2005 » 01 дек 2012, 01:45

и ещё
схема6.jpg
схема7.jpg
схема8.jpg
схема9.jpg
схема10.jpg
Если нужны будут ещё схемки,напиши.
Завтра ещё выложу остальные что есть по субуру в Аллдате.
DODGE CARAVAN 93 3.0L Silver
Изображение
Аватара пользователя
игрок
Ветеран клуба АмАвто
Сообщения: 23219
Зарегистрирован: 13 янв 2007, 01:54
Откуда: Спб

Re: chevrolet suburban '99 5.7 - эл схема

Сообщение игрок » 01 дек 2012, 01:50

от спасибо, мил человек. а то я ща на допотопном компе сижу, скачать-то можно все, что угодно, а вот с открытием уже некоторые проблемы. еще раз - спасибо!

марин, а ты не верила, что в клубе, в два часа ночи найдется человек, у которого схемы под рукой :)
Cadillac Escalade 6.2 '11
Dodge RamVan 2500 5.9 '97
Chevrolet Avalanche 5.3 '04 -=Sold=-
Dodge Durango 4.7 '00 -=Sold=-
Ford Eхplorer 4.0 '97 -=Sold=-

I live in Russia.
I wear fufaika, valenki and shapka–ushanka.
I drink vodka right from the samovar, and my bear plays on the balalaika.
Аватара пользователя
Marina
Ветеран клуба АмАвто
Сообщения: 2513
Зарегистрирован: 20 мар 2007, 16:08
Откуда: Москва
Контактная информация:

Re: chevrolet suburban '99 5.7 - эл схема

Сообщение Marina » 01 дек 2012, 10:02

Я скоро буду верить всему :) Или ничему :( Пока не определилась %)
Изображение Grand Caravan 08
Аватара пользователя
Dima
AmAvto
Сообщения: 49728
Зарегистрирован: 14 янв 2005, 16:03
Откуда: Москва
Контактная информация:

Re: chevrolet suburban '99 5.7 - эл схема

Сообщение Dima » 01 дек 2012, 11:34

Круто :!:
Cadillac Escalade 2010
X6 XDrive50i
Chrysler Crossfire Convertible SRT-6
Cadillac Escalade 2013
Аватара пользователя
Aerostar
Ветеран клуба АмАвто
Сообщения: 17756
Зарегистрирован: 09 янв 2008, 15:57
Откуда: Псков

Re: chevrolet suburban '99 5.7 - эл схема

Сообщение Aerostar » 01 дек 2012, 20:57

Как в одном известном фильме: "Простите, гражданин. А у вас чернил не найдётся?" :D
Ford Aerostar 3.0 '93
Ford Contour 2.0 '95
С5 2.0 '05
Аватара пользователя
alexauto2005
член клуба АмАвто
Сообщения: 352
Зарегистрирован: 08 май 2010, 00:14
Откуда: Россия,Тула
Контактная информация:

Re: chevrolet suburban '99 5.7 - эл схема

Сообщение alexauto2005 » 02 дек 2012, 17:07

игрок писал(а):от спасибо, мил человек. а то я ща на допотопном компе сижу, скачать-то можно все, что угодно, а вот с открытием уже некоторые проблемы. еще раз - спасибо!

марин, а ты не верила, что в клубе, в два часа ночи найдется человек, у которого схемы под рукой :)

Не за что.
Я сам сидел тогда в Аллдате, искал схемку.
DODGE CARAVAN 93 3.0L Silver
Изображение
Ответить